Princip - Systém přímého vstřikování HDI | |
Systém přímého vstřikování HDI
SÚSTAVA BOSCH TURBO DIESEL (na vysvetlení principu postačuje, je si potřeba uvědomit, e systém stále prochází inovacemi - pozn. autora)
1. Vysokotlaké palivové čerpadlo
Dopravní čerpadlo dodává palivo o nízkém tlaku do vysokotlakého čerpadla paliva.
Úkol vysokotlakého čerpadla paliva (BOSCH typ CP1 se 3 písty) :
- Dodávat palivo o vysokém tlaku
- Dodávat palivo do vstřikovačů nafty prostřednictvím společné rampy vysokotlakého vstřikování
Vysokotlaké palivové čerpadlo je poháněné rozvodovým řemenem (poměr pohonu 0,5).
1.2. Popis

a : Výstup paliva o vysokém tlaku (směrem ke společné vstřikovací rampě).
b : Zpětné vedení do nádre.
c : Vstup paliva (dopravní čerpadlo).
(1) Regulátor vysokého tlaku paliva.
(2) Ventil mazání.
(3) Hřídel čerpadla s výstředníkem.
(4) Vysokotlaký píst.
(5) Odpojovač 3. pístu vysokotlakého palivového čerpadla.
Vysoký tlak paliva se pohybuje mezi 200 a 1350 bar.
POZNÁMKA : Vysoký tlak paliva je řízený regulátorem vysokého tlaku paliva.
Prvky přidané na vysokotlakém palivovém čerpadle :
- (1) Regulátor vysokého tlaku paliva
- (5) Odpojovač 3. pístu vysokotlakého palivového čerpadla
POZNÁMKA : Vysokotlaké čerpadlo není rozváděcí čerpadlo a nevyaduje nastavení.
Maximální příkon : 3,5 kW.
1.3. Ventil mazání

Rozdíl mezi dopravním tlakem a tlakem ve zpětném vedení do palivové nádre :
- A : Tlak niší ne 0,8 bar
- B : Tlak vyšší ne 0,8 bar
b : Zpětné vedení do nádre.
c : Vstup paliva (dopravní čerpadlo).
d : Směrem k vysokotlakému stupni.
(2) Ventil mazání.
(6) Vratná pruina.
Palivo vtéká do čerpadla otvorem "c" a protéká mazacím ventilem (2) (dopravní čerpadlo).
A : Tlak niší ne 0,8 bar :
- Tlak paliva není dostatečný pro odtlačení ventilu (2)
- Palivo protéká ventilem (provrtaným otvorem)
- Palivo zajišuje mazání a chlazení vysokotlakého čerpadla
B : Tlak vyšší ne 0,8 bar :
- Palivo odtlačí ventil (2)
- Palivo umoňující mazání protéká vývrtem ve ventilu
- Palivo je přiváděno do vysokotlakého stupně "d" vysokotlakého čerpadla
1.4. Vyvození vysokého tlaku

C : Fáze sání.
D : Fáze výtlaku.
(3) Hřídel čerpadla s výstředníkem.
(4) Vysokotlaký píst.
(7) Sací ventil paliva.
(8) Výtlačný ventil s kuličkou.
(9) Vratná pruina sacího ventilu.
(10) Vratná pruina pístu vysokého tlaku.
(11) Poháněcí vačka.
Hřídel vysokotlakého palivového čerpadla má vačku.
Do pístů vstřikování je přiváděno palivo z interního nízkotlakého okruhu vysokotlakého čerpadla.
Ve fázi sání je palivo nasáto pístem.
C Fáze sání :
- Dopravní čerpadlo dodává palivo přes sací ventil (7)
- Vratná pruina zatlačí píst na vačku
- Píst vyvodí podtlak ve vloce
D Fáze výtlaku :
- Dolní úvra je překročena
- Pokles tlaku paliva způsobí zavření sacího ventilu (přiblině 1 bar)
- Palivo je uzavřeno v komoře
- Vačka vysokotlakého palivového čerpadla tlačí na píst
- Tlak paliva se zvýší
- Palivo je vytlačeno směrem k výtlačnému ventilu
- Výtlačný ventil (8) se otevře
Za horní úvratí se výtlačný ventil zavře v důsledku sníení tlaku.
2. Odpojovač 3. pístu vysokotlakého palivového čerpadla (1208-6)
2.1. Úloha
Úloha odpojovače 3. pístu vysokotlakého palivového čerpadla :
- Sníit příkon vysokotlakého palivového čerpadla při provozu vozidla s malým zatíením
- Rychle omezit vysoký tlak v případě závady

E : Pouití 3 pístů.
F : Pouití 2 pístů.
(4) Vysokotlaký píst.
(5) Odpojovač 3. pístu vysokotlakého palivového čerpadla.
(7) Sací ventil paliva.
(8) Výtlačný ventil s kuličkou.
(9) Vratná pruina sacího ventilu.
(12) Tlačná tyčka.
Sloení odpojovače 3. pístu vysokotlakého palivového čerpadla :
- Elektromagnet
- Tlačná tyčka, která se pohybuje působením magnetického pole vyvolaného elektromagnetem
Kdy odpojovač 3. pístu není napájen :
- Sací ventil paliva (7) je přitisknutý do jeho sedla pruinou (9)
- Válec je zavřený
- Působení vačky hřídele čerpadla se projeví vyvozením tlaku
- Tlak paliva umoňuje zvednout výtlačný ventil (8)
- Palivo směřuje k vysokotlakému výstupu čerpadla
Kdy je odpojovač 3. pístu napájen :
- Tlačná tyčka (12) nadzvedne sací ventil (7) z jeho sedla
- Válec je otevřený : Není vyvozen tlak
- Palivo směřuje k nízkotlaké části vysokotlakého čerpadla
2.3. Zvláštnosti elektrických zařízení
Ovládání : Počítač vstřikování.
Typ : Ovládání "ano nebo ne" ukostřením.
Kdy je odpojovač 3. pístu napájen : Čerpadlo pracuje se 2 písty.
Kdy odpojovač 3. pístu není napájen : Čerpadlo pracuje se 3 písty.
3. Regulátor vysokého tlaku paliva (1322) (známo jako solenoid railu - pozn. autora)
Regulátor vysokého tlaku paliva umoňuje regulovat tlak paliva na výstupu z vysokotlakého palivového čerpadla.

G : Regulátor vysokého tlaku není napájený.
H : Regulátor vysokého tlaku je napájený.
a : Výstup paliva o vysokém tlaku (směrem ke společné vstřikovací rampě).
b : Zpětné vedení do nádre.
e : Vysokotlaký palivový okruh.
(13) Pruina.
(14) Elektrická cívka.
(15) Magnetické jádro.
(16) Kulička.
Vysoký tlak paliva je regulován změnou nastavení regulátoru vysokého tlaku paliva.
Regulátor vysokého tlaku paliva zahrnuje 2 okruhy řízení tlaku :
- Elektrický obvod, který ovládá elektromagnet regulátoru vysokého tlaku paliva a působí přímo na vysoký tlak (počítač vstřikování)
- Mechanický okruh, který umoňuje zajistit minimální tlak a tlumení pulzací
3.3. Mechanické řízení
Ve vysokotlakém palivovém okruhu dochází ke změnám tlaku.
Vysoký tlak paliva se zvýší při výtlaku pístem čerpadla.
Vysoký tlak paliva se sníí při otevření vstřikovače nafty.
Kmitání kuličky tlumí změny tlaku.
3.4. Elektrické řízení
Kdy regulátor vysokého tlaku paliva není napájený :
- Vysoký tlak paliva působí proti mechanickému působení pruiny ( 13)
- Regulátor se otevře, kdy vysoký tlak překoná tlak vyvozený sílou pruiny (ð 100 bar)
- Palivo uvolněné regulátorem vysokého tlaku se vrátí do nádre přes výstup "b"
POZNÁMKA : 30 sekund po vypnutí motoru nezůstává ve vysokotlakém palivovém okruhu ádný zbytkový tlak.
Fáze ovládání vzestupu tlaku :
- Počítač vstřikování napájí regulátor vysokého tlaku paliva proudem s poměrným cyklem otevření RCO
- Cívka regulátoru vysokého tlaku paliva přitáhne magnetické jádro (magnetická síla)
- Síla působící na kuličku je součtem síly pruiny (13) a magnetické síly jádra
- Hodnota odpojení regulátoru vysokého tlaku se zvětší
Fáze ovládání nízkého tlaku :
- Počítač vstřikování zmenší poměr cyklu otevření RCO vyjádřený proudem dodávaným cívce regulátoru vysokého tlaku paliva
- Cívka regulátoru vysokého tlaku paliva přitáhne magnetické jádro (magnetická síla)
- Síla působící na kuličku se zmenší
- Hodnota odpojení regulátoru vysokého tlaku paliva se zmenší
POZNÁMKA : RCO : Cyklický poměr otevírání.
3.5. Zvláštnosti elektrických zařízení
Kdy regulátor vysokého tlaku paliva není napájený : Tlak je omezen na ð 100 barů.
Ovládání : Počítač vstřikování (kostra).
Ovládání proměnným napětím (RCO) :
- Maximální napětí (maximální poměr cyklu otevření RCO) = Maximální tlak
- Minimální napětí (minimální poměr cyklu otevření RCO) = Minimální tlak
URGENTNÍ : Po zastavení motoru počkat před jakýmkoliv zásahem 30 sekund.
4. Společná rampa vysokotlakého vstřikování paliva
4.1. Úloha
Společná vysokotlaká rampa vstřikování paliva slouí jako zásobník paliva.
Palivo je k dispozici pro všechny vstřikovače nafty.
4.2. Popis
Součásti spojené se společnou vysokotlakou rampou vstřikování paliva :
- Vysokotlaké potrubí přívodu paliva
- Přívodní potrubí vstřikovačů nafty
- Sonda teploty paliva
- Snímač vysokého tlaku paliva
Objem společné rampy vysokotlakého vstřikování paliva je uzpůsobený zdvihovému objemu příslušného motoru.
5. Akumulátor ( BB00)
Úroveň nabití akumulátoru je důleitá pro činnost systému přímého vstřikování HDI.
POZOR : Napětí akumulátoru niší ne 10 voltů negativně ovlivňuje činnost systému přímého vstřikování HDI.
Počítač uloí do paměti závadu v následujících případech :
- Napětí akumulátoru vyšší ne 17,5 V
- Napětí akumulátoru niší ne 7 voltu
6. Dvojité relé vstřikování (1304)
Dvojité relé vstřikování je ovládané přímo počítačem vstřikování.
První relé dvojitého relé vstřikování napájí následující součásti :
- Dopravní čerpadla (nízkotlaké)
- Elektromagnetický ventil regulace tlaku přeplňování
- Průtokoměr vzduchu
- Elektroventil regulace recirkulace (EGR)
Druhé relé dvojitého relé vstřikování napájí následující součásti :
- Počítač vstřikování (výkonová část)
- Relé ovládání elektrických ventilátorů chlazení motoru
POZNÁMKA : Po vypnutí zapalování dvojité relé vstřikování zůstane napájeno po dobu 4 sekund nebo po dobu 6 minut v případě dochlazování.
Při poadavku na zablokování počítače vstřikování systémem imobilizéru (specifická cesta počítače) :
- Počítač napájí dvojité relé vstřikování
- Počítač je znovu napájen dvojitým relé vstřikování (výkon)
- Komunikace mezi počítačem vstřikování a systémem imobilizéru je moná
- Na konci komunikace počítač vstřikování vypne napájení dvojitého relé vstřikování
7. Snímač pedálu akcelerace (1261)
7.1. Úloha
Snímač je spojený s pedálem akcelerace lankem.
Snímač :
- Registruje poadavek řidiče (zrychlení, zpomalení)
- Dodává informaci počítači vstřikování
7.2. Popis
(17) Elektrický konektor.
(18) Lanko akcelerátoru.
(19) Poháněcí vačka.
Snímač pedálu akcelerace dodává 2 signálů (napětí).
Hodnota napětí jednoho signálu se rovná polovině druhého.
Informace pocházející z cest konektoru jsou trvale vzájemně porovnávány pro zjištění eventuální závady.
POZNÁMKA : Snímač pedálu akcelerátoru je bezkontaktní.
7.3. Zvláštnosti elektrických zařízení
Přiřazení cest konektoru :
- Cesta 1 : Výstupní signál 1
- Cesta 2 : Výstupní signál 2
- Cesta 3 : 5 volt
- Cesta 4 : Kostra
Pedál akcelerace uvolněný :
- Napětí mezi kostrou a cestou 1 : 0,5 volt
- Napětí mezi kostrou a cestou 2 : 0,28 volt
Pedál akcelerace sešlápnutý nadoraz :
- Napětí mezi kostrou a cestou 1 : 3,35 volt
- Napětí mezi kostrou a cestou 2 : 1,6 volt
7.4. Umístění
V motorovém prostoru. (inovace: součást pedálu v kabině - poznámka autora)
8. Snímač otáček motoru (1313)
8.1. Úloha
Snímač je umístěný proti zubům setrvačníku.
Snímač umoňuje určit následující parametry :
- Otáčky motoru
- Poloha klikového ústrojí
8.2. Popis

Snímač je indukční.
Sloení snímače :
- Permanentní magnet
- Elektrické vinutí
Snímač vydává elektrický signál při průchodu jednotlivých zubů setrvačníku (změna magnetického pole).
58 zubů umoňuje stanovit otáčky motoru.
2 chybějící zuby umoňují stanovit polohu klikového hřídele (není vydán signál).
POZNÁMKA : Hodnota vzduchové mezery není seřiditelná.
8.3. Zvláštnosti elektrických zařízení
Přiřazení cest konektoru :
- Cesta 1 : Signál
- Cesta 2 : Kostra
Odpor mezi cestami 1 a 2 : 50 ohmů.
Zvláštnosti vydávaných signálů : Střídavé napětí s proměnnou frekvencí.
POZOR : Vodič snímače není stíněný, svazek je vdy nutno vést v určených místech.
8.4. Umístění
Umístění : Na skříni spojky.
9. Snímač polohy vačkového hřídele (1115)
9.1. Úloha
Úloha počítače vstřikování v závislosti na obdrené informaci :
- Synchronizovat vstřikovače paliva s polohou pístů
- Rozpoznat horní úvratě
9.2. Popis

Snímač pracující na základě Hallova jevu.
(20) Snímač polohy vačkového hřídele.
(21) Řemenice vačkového hřídele.
(22) Terčík poháněný vačkovým hřídelem.
(23) Náboj vačkového hřídele.
(24) Plastový kolík.
Snímač vačkového hřídele dodává počítači vstřikování obdélníkový signál.
Snímač vačkového hřídele je umístěný proti terčíku poháněnému řemenicí vačkového hřídele.
Snímač umoňuje synchronizovat vstřikování paliva vzhledem k poloze pístů (sekvenční vstřikování).
Plastový kolík (24) umoňuje seřídit vzduchovou mezeru v továrně.
POZNÁMKA : Plastový kolík je zničen při prvním nastartování motoru.
URGENTNÍ : Při montái snímače vačkového hřídele je nezbytné dodret vzduchovou mezeru mezi snímačem a terčíkem E = 1,2 (+0 ; +0,1) mm.
9.3. Zvláštnosti elektrických zařízení
NAPÁJENÍ : Počítač vstřikování.
Přiřazení cest konektoru :
- Cesta 1 : Napájení 5 volt
- Cesta 2 : Signál
- Cesta 3 : Kostra
Napěové signály se pohybují mezi 0 a 5 volty.
Vydaný signál :
- Přítomnost kovové hmoty před snímačem : 0 volt
- Nepřítomnost kovové hmoty před snímačem : 5 volt
10. Sonda teploty chladicí kapaliny motoru (1220)
10.1. Úloha
Sonda teploty chladicí kapaliny informuje počítač o teplotě chladicí kapaliny motoru.
Úloha počítače vstřikování v závislosti na obdrené informaci :
- Upravit dobu havení před startem
- Upravit dobu havení po startu
- Upravit dodávku při startování
- Upravit volnoběné otáčky
- Povolit recirkulaci výfukových plynů (EGR)
- Upravit dodávku paliva
- Omezit vstřikované mnoství paliva, kdy je teplota chladicí kapaliny nebezpečně vysoká (funkce proti varu)
- Ovládat zapnutí elektrických ventilátorů chlazení motoru
- Ovládat ukazatel ve sdrueném přístroji (*)
- Ovládat kontrolky výstrahy a předběné výstrahy (*)
POZNÁMKA : (*) Podle verze.
10.2. Popis
Existují(e) 2 typy(ů) provedení :
- 3 cestná modrá sonda
- 2 cestná zelená sonda
10.3. Popis : 3 cestná modrá sonda
Sonda je tvořena 2 rezistorem se záporným teplotním koeficientem (CTN).
Přiřazení cest konektoru :
- Cesta 1 - Cesta 2 : Záporný teplotní koeficient (CTN) pro počítač vstřikování
- Cesta 3 - Kostra : Záporný teplotní koeficient (CTN) pro ukazatel ve sdrueném přístroji
Elektrické charakteristiky :
- Cesta 1 - Cesta 2 : Odpor při 20 °C = 6200 ohmů
- Cesta 3 - Kostra : Odpor při 30 °C = 1925 ohmů
10.4. Popis : 2 cestná zelená sonda
Sonda je tvořená rezistorem se záporným teplotním koeficientem (CTN).
Hodnota odporu se zvyšuje zároveň se vzrůstající teplotou.
Elektrické charakteristiky : Odpor při 20 °C = 6200 ohmů.
10.5. Popis : Umístění

(25) Sonda teploty chladicí kapaliny motoru.
Sonda teploty chladicí kapaliny je umístěná na komoře chlad. kapaliny.
Existují(e) 2 typy(ů) provedení.
Kovová komora výstupu chladicí kapaliny :
- Sonda teploty chladicí kapaliny je zašroubovaná
- Utěsnění je provedeno měděným těsněním
Plastová komora výstupu chladicí kapaliny :
- Sonda teploty chladicí kapaliny je upevněná plastovým třmenem
- Utěsnění je provedeno těsnicím O-kroukem
11. Sonda teploty vzduchu (1310)
11.1. Úloha
Sonda teploty vzduchu informuje počítač o teplotě nasávaného vzduchu.
Úloha počítače vstřikování v závislosti na obdrené informaci :
- Ovládat přídavné topení
- Vypočítat hustotu vzduchu prostředí
POZOR : Sonda teploty vzduchu je zabudovaná v průtokoměru vzduchu.
11.2. Popis
Sonda je tvořená rezistorem se záporným teplotním koeficientem (CTN).
Čím vyšší je teplota, tím niší je hodnota odporu.
Elektrické charakteristiky : Odpor při 25 °C = 3300 ohmů.
11.3. Umístění

(26) Sonda teploty vzduchu.
Sonda teploty vzduchu je zabudovaná v průtokoměru vzduchu.
12. Sonda teploty paliva (1221)
12.1. Úloha
Úloha počítače vstřikování v závislosti na obdrené informaci :
- Upravit dodávku paliva
- Vypočítat hustotu paliva
12.2. Popis

Sonda je tvořená rezistorem se záporným teplotním koeficientem (CTN).
Jedna varianta tohoto provedení měří přímo teplotu paliva ve zpětném vedení paliva do nádre :
- Odpor při 25 °C = 2400 ohmů
- Odpor při 80 °C = 270 ohmů
12.3. Umístění

(27) Sonda teploty paliva.
Sonda teploty paliva je připevněná na společné vysokotlaké rampě vstřikování paliva (28).
13. Snímač vysokého tlaku paliva (1321)
13.1. Úloha
Snímač měří hodnotu vysokého tlaku ve společné vysokotlaké rampě vstřikování paliva.
Úloha počítače vstřikování v závislosti na obdrené informaci :
- Určit mnoství paliva, která má být vstřikováno = Doba vstřiku
- Regulovat vysoký tlak paliva ve společné vysokotlaké rampě vstřikování paliva
13.2. Popis

29) Snímač vysokého tlaku paliva.
(30) Kovové těsnění.
Snímač je piezoelektrický.
Snímač je tvořen měřiče napětí.
Snímač dodává napětí úměrné tlaku paliva ve společné vysokotlaké rampě vstřikování paliva.
13.3. Popis : Zvláštnosti elektrických zařízení
Přiřazení cest konektoru :
- Cesta 1 : Kostra
- Cesta 2 : Informace o tlaku (0 a 5 voltu(ů))
- Cesta 3 : Napájení +5 volt
Napětí dodávané při tlaku 100 bar(ů) : ð 0,5 volt.
Napětí dodávané při tlaku 300 bar(ů) : ð 1,3 volt.
13.4. Popis : Umístění

(29) Snímač vysokého tlaku paliva.
Snímač je umístěný na společné vysokotlaké rampě vstřikování paliva (28).
14. Snímač rychlosti vozidla (1620)
14.1. Úloha
Úloha počítače vstřikování v závislosti na obdrené informaci :
- Určit rychlost vozidla (vozidlo stojí nebo vozidlo jede)
- Určit zařazený převodový stupeň
- Zlepšit volnoběné otáčky za jízdy vozidla
- Optimalizovat akcelerace
- Omezit trhavý chod motoru
14.2. Popis

Snímač informuje počítač o rychlosti vozidla.
Snímač pracující na základě Hallova jevu :
- 5 "signálů" za metr
- 8 "signálů" za otáčku
14.3. Zvláštnosti elektrických zařízení
Přiřazení cest konektoru :
- Cesta 1 : Napájení +12 volt
- Cesta 2 : Kostra
- Cesta 3 : Signál
14.4. Umístění
Snímač je umístěný na převodovce.
15. Brzdový spínač
15.1. Úloha
Spínač umoňuje počítači vstřikování zajišovat dobré jízdní pohodlí.
15.2. Umístění
Brzdový spínač je umístěný na pedálové skupině.
16. Počítač vstřikování (1320)
16.1. Úloha
Počítač řídí celý systém vstřikování.
Program počítače zahrnuje :
- Funkce řízení vstřikování a omezení emisí škodlivin
- Reimy pohodlí jízdy
- Funkce blokování startování (imobilizér)
- Nouzové reimy
- Řízení ovládání elektrických ventilátorů chlazení motoru a výstraných kontrolek (*)
- Ovládání systémů ohřevu chladicí kapaliny pro výměník topení (*)
- Diagnostika s ukládáním závad do paměti
POZNÁMKA : (*) Podle verze.
Počítač zajišuje elektrické řízení následujících prvků :
- Vstřikovače nafty
- Elektromagnetický ventil regulace tlaku přeplňování
- Regulátor vysokého tlaku paliva
- Elektroventil regulace recirkulace (EGR)
- Jednotka havení před a po startu (vypnutí havení po startu)
- Odpojovač 3. pístu vysokotlakého palivového čerpadla
Počítač dodává následující informace :
- Otáčky motoru : K rychloměru
- Okamitá spotřeba : K palubnímu počítači
- Vypnutí klimatizace
- Povolení k zapnutí ohřívače chladicí kapaliny (podle verze)
Snímač atmosférického tlaku nelze oddělit od počítače vstřikování.
Počítač má jeden výkonový stupeň schopný dodávat velmi vysoký ovládací proud nezbytný pro funkci vstřikovačů nafty.
Počítač vstřikování je spojený se svazkem vstřikování prostřednictvím 88 cestného konektoru.
Aktualizace programu počítače vstřikování se provádí "dálkovým" přeprogramováním (počítač s pamětí FLASH EPROM).
17. Zvláštnost ovládání vstřikovačů nafty
Ovládání vstřikovačů nafty je prováděno 2 ovládacími stupni počítače vstřikování :
- Ovládací stupeň 1 : Skupina vstřikovačů 1 - 4
- Ovládací stupeň 2 : Skupina vstřikovačů 2 - 3
Ovládací stupně vstřikovačů nafty umoňují dosáhnout následující hodnoty napětí :
- Špičkové napětí 80 V, potřebné na začátku zdvihu jehly vstřikovačů nafty
- Napětí 50 V, potřebné pro udrování otevřeného stavu vstřikovačů nafty
Ovládací stupně, integrované v počítači vstřikování, mají kadý jeden kondenzátor, který uchovává energii potřebnou pro ovládání vstřikovačů nafty.
Mezi kadým vstřikem zašle počítač vstřikování impulzy cívce právě nepracujícího vstřikovače.
Impulsy vytvářejí indukované napětí pro nabití příslušného ovládacího stupně (kondenzátor).
POZOR : Ovládací stupeň se nemůe nabít za přítomnosti anomálie v napájecím vedení vstřikovače nafty.
Bezpečnostní systém uvnitř počítače umoňuje odpojit ovládací stupně při zastavení motoru.
URGENTNÍ : Vzhledem ke zvýšenému napětí na svorkách počítače a vstřikovačů nafty musí být případná měření napětí prováděna pomocí předepsaných přístrojů.
18. Vstřikovače nafty 1331, 1332, 1333, 1334
18.1. Úloha
Vstřikovače nafty vstřikují palivo nutné pro činnost motoru.
Přímé vstřikování paliva do hlavy pístů zlepšuje účinnost motoru.
Palivo můe být vstříknuto v následujících fázích :
- Pilotní vstřik
- Hlavní vstřik
- Dodatečný vstřik
18.2. Popis

f : Zpětné vedení do nádre.
(30) Elektrický konektor.
(31) Cívka ovládacího elektroventilu.
(32) Pruina ovládacího elektroventilu.
(33) Matice.
(34) Jehla ovládacího elektroventilu.
(35) Hrot vstřikovače nafty.
(36) Jehla vstřikovače nafty.
(37) Tlaková komora.
(38) Pruina vstřikovače nafty.
(39) Ovládací píst.
(40) Ovládací komora.
(41) Přívodní tryska.
(42) Tryska okruhu zpětného vedení paliva.
(43) Vstupní přípojka paliva o vysokém tlaku.
(44) Laminární filtr zabudovaný v přípojce (43).
Ovládací elektromagnetický ventil je umístěný v horní části vstřikovače nafty.
Ovládací elektromagnetický ventil je upevněný na tělesu vstřikovače nafty maticí (33).
Vstřikovače nafty mají 5 otvorů, které umoňují lepší promísení směsi vzduchu s palivem.
POZNÁMKA : Průměr 5 otvorů vstřikovačů nafty je uzpůsoben verzi motoru.
URGENTNÍ : Nemanipulovat se vstřikovačem nafty prostřednictvím jeho horní matice (33) (zničení vstřikovače nafty).
POZNÁMKA : Laminární filtr nevyaduje ádnou údrbu.
Mnoství vstřikovaného paliva závisí na následujících parametrech :
- Doba elektrického ovládání (počítač vstřikování)
- Rychlost otevření vstřikovače nafty
- Hydraulická dodávka vstřikovače nafty (počet a průměr otvorů)
- Tlak paliva ve společné vysokotlaké rampě vstřikování paliva
Tlaky paliva, pouívané systémem přímého vstřikování HDI, znemoňují přímé elektrické ovládání vstřikovačů nafty.
Otevření vstřikovačů nafty je dosaeno rozdílem tlaku mezi ovládací komorou (40) a tlakovou komorou (37).
Jehla vstřikovače nafty (36) je přitlačená ve svém sedle pruinou (38).
Jehla vstřikovače nafty (36) je překonána ovládacím pístem (39) (ovládací píst je ve svém uloení volný).
Hlava ovládacího pístu přesahuje do ovládací komory (40).
Ovládací komora je propojená s následujícími okruhy :
- Vysokotlaký palivový okruhu přes trysku (41)
- Okruh zpětného vedení do palivové nádre přes trysku (42)
Ovládací komora (40) je oddělena od zpětného vedení paliva jehlou elektromagnetického ventilu (34).
Jehla vstřikovače nafty (36) je přitlačená ve svém sedle pruinou (32).
Palivo je rovnoměrně rozděleno mezi komorami (40) a (37).
Tryska (42) je větší ne tryska (41).
Jehla elektroventilu se zvedne ihned při napájení cívky elektroventilu (magnetické pole).
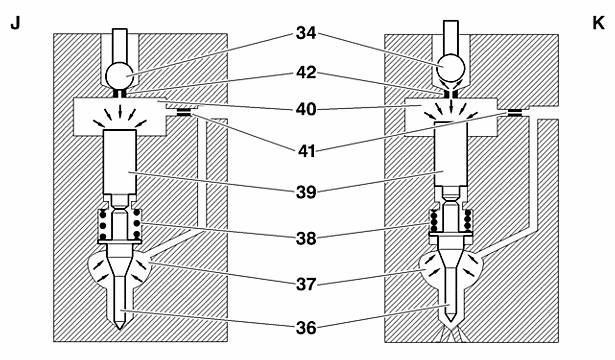
18.3. Princip otevírání a zavírání vstřikovače nafty

J : Vstřikovač nafty zavřený.
K : Otevření vstřikovače nafty.
(34) Jehla ovládacího elektroventilu.
(36) Jehla vstřikovače nafty.
(37) Tlaková komora.
(38) Pruina vstřikovače nafty.
(39) Ovládací píst.
(40) Ovládací komora.
(41) Přívodní tryska.
(42) Tryska okruhu zpětného vedení paliva.
18.4. Princip otevírání a zavírání vstřikovače nafty : Vstřikovač nafty zavřený
Síla, kterou působí vysoký tlak, je shodná v ovládací ( 40) a tlakové (37) komoře.
Ovládací píst je nehybný (přitlačený k jehle vstřikovače nafty).
Zvýšení tlaku ve společné vysokotlaké rampě vstřikován paliva způsobí zavření vstřikovače nafty.
18.5. Princip otevírání a zavírání vstřikovače nafty : Princip otevření vstřikovače nafty
Počítač vstřikování napájí ovládací elektroventil.
Fáze činnosti, jakmile se jehla elektroventilu ( 34) zvedne působením ovládacího elektroventilu (magnetické pole) :
- Přes trysku (42) unikne palivo
- Přívod paliva přes trysku (41) nekompenzuje únik přes trysku (42)
- Rovnováha tlaku mezi komorami (40) a (37) je porušena
- Tlak působící v tlakové komoře (37) nadzvedne jehlu vstřikovače nafty
- Ovládací píst se posune nahoru
- Palivo je vstříknuto do hlavy pístu
POZNÁMKA : Vstřikování paliva trvá, dokud je elektroventil vstřikovače nafty napájený.
POZNÁMKA : Maximální zdvih jehly ovládacího elektroventilu : ð 0,06 mm.
18.6. Princip otevírání a zavírání vstřikovače nafty : Zvláštnosti v závislosti na době ovládání elektroventilu
Krátkodobé ovládání :
- Ovládací píst vykazuje určitou setrvačnost
- Jehla vstřikovače nafty je mírně zvednutá
- Mnoství vstřikovaného paliva je malé
- Tlak vstřikování je niší ne tlak působící v rampě vysokotlakého vstřikování paliva
Dlouhodobé ovládání :
- Ovládací píst a jehla vstřikovače nafty jsou úplně zvednuté
- Mnoství vstřikovaného paliva je velké
- Tlak vstřikování je roven tlaku působícímu v rampě vysokotlakého vstřikování paliva
POZNÁMKA : Mechanické chování vstřikovače nafty je zaregistrované v kartografii.
18.7. Princip otevírání a zavírání vstřikovače nafty : Princip zavření vstřikovače nafty
Fáze činnosti, jakmile počítač vstřikování přeruší napájení elektroventilu vstřikovače nafty :
- Pruina elektroventilu přitiskne jehlu elektroventilu do jejího sedla
- Tryska ( 42) je uzavřená
- Palivo přestane unikat do okruhu zpětného vedení
- Zvýšení tlaku v ovládací komoře (40) způsobí uzavření vstřikovače nafty
- Vyrovná se tlak mezi komorami (40) a (37)
- Vstřikovač nafty je připraven k novému cyklu
18.8. Ovládání elektroventilů vstřikovačů nafty

Ovládací proud vstřikovače nafty.
Y : Ampéry.
X : Doba trvání.
(45) Proud přitaení.
(46) Proud udrení.
(47) Fáze přitaení.
(48) Fáze udrení.
(49) Konec ovládání.
Elektrické napájení elektroventilu probíhá ve 2 fázích :
- Fáze přitaení (napětí a proud přitaení)
- Fáze udrení (napětí a proud udrení)
18.9. Ovládání elektroventilů vstřikovačů nafty : Fáze přitaení
Fáze přitaení má za cíl vyvolat rychlé zvednutí jehly elektromagnetického ventilu.
Elektroventil vstřikovače nafty je napájený následujícím způsobem :
- Napětí přiblině 80 V
- Proud přiblině 20 A
POZNÁMKA : Fáze přitaení je omezena na několik milisekund (0,3 ms).
18.10. Ovládání elektroventilů vstřikovačů nafty : Fáze udrení
Fáze udrení umoňuje pokračovat v napájení elektromagnetického ventilu s niším elektrickým příkonem.
Elektroventil vstřikovače nafty je napájený následujícím způsobem :
- Napětí přiblině 50 V
- Proud přiblině 12 A
18.11. Ovládání elektroventilů vstřikovačů nafty : Zvláštnosti elektrického ovládání
POZOR : Je zakázáno napájet vstřikovač nafty 12 V (zničení elektroventilu).
zdroj: internet
preklad: dobrá duša :)
|